The speed input range of the Advance GWS70.76 marine gearbox is 300-900 RPM, with engine input power from 2433.3 kW to 7299.9 kW. the reduction ratio range is 1.94-3.95 the transmission capacity is 8.111 kW/RPM, the rated propeller thrust is 750 KN, and the input shaft is in the train Opposite to the output shaft.
Advance GWS70.76 marine gearbox is composed of transmission shaft, output coupling, input coupling, oil pressure gauge, oil Filter, control system, oil pump and other important components.
Advance GWS70.76 marine gearboxes provides two types of control system which are electric control and pneumatic control for customers to choose. To meet the different requirement of coupling with different engine brand and models, Advance GWS70.76 marine gearboxes available in engine flywheel sizes.
All of our Advance GWS series marine gearbox can provide CCS classification certificate, some of series can provide international classifications with extra costs which mainly including French BV, British LR, American ABS, Japanese NK , Norway DNV-GL, Russia RS, South Korea KR, Italy RINA and other classification societies.
Advantages Of Advance GWS70.76 Marine Gearbox Parts
Gearbox novel structure, so that its use becomes very reliable. The excellent design makes the gearbox and engine arrangement more soft and smooth.
It can be matched with high-speed diesel engines at home and abroad, and can be arranged in vertical, horizontal and inclination according to the needs of users.
The gearbox have adapted to combined design, and all running parts have been carefully designed and machined to the highest standards for less wasted fuel, smooth operation which can be fitted to most engine models.
2-stage deceleration, the input and output are at the same center, and when the running direction is the same, it has the function of reverse clutch deceleration.
Professional gearbox specialists and after-sales service, spare parts directly available from stock.
Technical Specifications
| Gearbox Model: | GWS70.76 |
| Input Speed: | 300-900 r / min |
| Power: | N/A |
| Center Distance: | N/A |
| Trans.Capacity: | 8.111 kw/r/min |
| Reduction Ratio: | 1.94-3.95 |
| Rated Thrust: | 750 kN |
| Dimension: | N/A |
| Net Weight: | 20000 kg |
| Lead Time: | 15-30 Working Days |
| Payment Terms: | T/T ,L/C |
Click Kit Name to Check Part List
No. | Parts No. | Description | Qty. | Remarks |
| 1 | GWS70.76 – 01 – 295 | Input flange | 1 | \ |
| 2 | GWS70.76 – 02 – 274 | Input cylinder | 1 | \ |
| 3 | 22348MB | Bearing | 2 | \ |
| 4 | GB/T 3452.1 – 1992 | O – ring φ inner 230×7 | 1 | \ |
| 5 | GB/T894.1 – 86 | Sprag for shaft 240 | 2 | \ |
| 6 | GWC70.76 – 02 – 173 | Spacer | 2 | \ |
| 7 | GWC70.76 – 02 – 183 | Clutch paston | 2 | \ |
| 8 | 4467 | X – ring | 2 | \ |
| 9 | 4442A | X – ring | 2 | \ |
| 10 | GWC70.76 – 02 – 239 | Guiding ring sleeve | 1 | \ |
| 11 | S52029 – 442A | Sprag | 2 | \ |
| 12 | S52029 – 467 | Sprag | 2 | \ |
| 13 | DIN2093 – C225 | Spring | 10 | \ |
| 14 | GWC70.76 – 02 – 190 | Spring sleeve | 1 | \ |
| 15 | GWC70.76 – 02 – 180 | In frictional plate | 20 | \ |
| 16 | GWC70.76 – 02 – 181 | Ex. frictional plate | 22 | \ |
| 17 | GWS70.76 – 02 – 178 | Right – hand clutch casing gear | 1 | \ |
| 18 | GWC70.76 – 02 – 176 | Stud | 32 | \ |
| 19 | GWC70.76 – 02 – 177 | Nut | 64 | \ |
| 20 | GWS70.76 – 02 – 204 | Clutch housing Flange | 2 | \ |
| 21 | GWS70.76 – 02 – 208 | Clutch rear spacer | 2 | \ |
| 22 | NU260MA/C3 | Bearing | 2 | \ |
| 23 | GWS70.76 – 02 – 281 | Pinion shaft | 2 | \ |
| 24 | GWC70.76 – 02 – 214 | Spacer | 2 | \ |
| 25 | QJ344N2MPA | Bearing | 2 | \ |
| 26 | GB/T894.1 | Sprag for shaft 220 | 2 | \ |
| 27 | GWC70.76 – 02 – 194 | Baffle with hale | 2 | \ |
| 28 | GB70.1 – 2000 | Screw M12X25 | 12 | \ |
| 29 | GB119.1 – 2000 | Pin 20X60 | 4 | \ |
| 30 | GB70.1 – 2000 | Screw M16X65 | 12 | \ |
| 31 | GWC70.76 – 03 – 275 | Astern cylinder | 1 | \ |
| 32 | GWC70.76 – 03 – 238 | Guiding ring sleeve | 1 | \ |
| 33 | GWS70.76 – 02 – 179 | Left – hand clutch casing gear | 1 | \ |
| 34 | 4/0224/5086/0 | Emergency screw | 8 | \ |
| 35 | GB/T343 – 94 | Safety wire φ2.5 | Several | \ |
| 36 | GWS70.76 – 02 – 207 | Spacer | 2 | \ |
| 37 | GB858 – 88 | Tab washer for round nut 220 | 2 | \ |
| 38 | GB812 – 88 | Nut M220X4 | 2 | \ |
| 39 | 3/0931/0118/0 | Drain valve body | 4 | \ |
| 40 | 4/0903/0079/0 | Drain value piston | 4 | \ |
| 41 | GB5783 – 2000 | Screw M6X40 | 8 | \ |
| 42 | GB71 – 2000 | Screw M6X8 | 8 | \ |
| 43 | GB71 – 2000 | Screw M5X10 | 2 | \ |
| 44 | GB2089 – 94 | Pressured spring 0.5X431 | 4 | \ |
| 45 | GWS70.76 – 02 – 100 | Inlet group | 1 | \ |
| 46 | GWS70.76 – 06 – 000 | Pump trans assembly | 1 | \ |
| 47 | GWC70.76 – 02 – 182 | Disc carrier | 2 | \ |
| 48 | GWS70.76 – 02 – 213 | Spacer | 2 | \ |
| 49 | NU2344ECMA/C3 | Bearing | 4 | \ |
| 50 | Q21 – 38 | Plug φ10 | 6 | \ |
| 51 | GWC70.76 – 02 – 274.1 | Oil hole beard | 1 | \ |
| 52 | GB3452.1 – 92 | O – ring 35.5×3.55 | 1 | \ |
| 53 | GB/T5783 – 2000 | Stud M10×25 | 6 | \ |
| 54 | GWC70.76 – 02 – 289 | Seal | 2 | \ |
| 55 | GB/T 3452.1 – 1992 | O – ring φ inner 90×2.65 | 2 | \ |
| 56 | GWS70.76 – 02 – 212 | Spacer | 4 | \ |
| 57 | GB/T3452.1 – 1992 | O – ring 40×3.55 | 1 | \ |
| 58 | GWC70.76 – 02 – 243 | Inlet seat | 1 | \ |
| 59 | GWC70.76 – 02 – 244 | Oil – in sleeve | 1 | \ |
| 60 | 300 – 01 – 016 | Sealing ring | 2 | \ |
| 61 | GWS70.76 – 02 – 195 | Gland for flange | 2 | \ |
| 62 | GB70.1 – 2000 | Screw M8×30 | 12 | \ |
| 63 | GB1096 – 2003 | Key 45×180 | 2 | \ |
| ——END—— | ||||

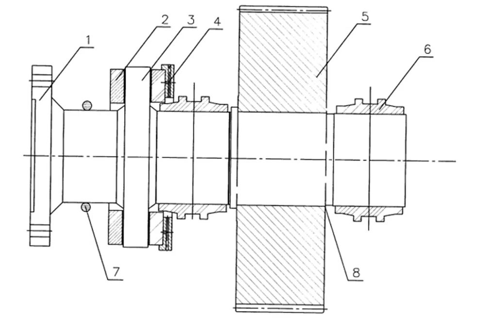
No. | Parts No. | Description | Qty. | Remarks |
| 1 | GWS70.76 – 04 – 240 | Output shaft | 1 | \ |
| 2 | GWC70.76 – 04 – 002 | Bearing | 2 | Selected when the output shaft turns right in ahead gear |
| 2 | GWC70.76 – 04 – 003 | Bearing | 2 | Selected when the output shaft turns left in ahead gear |
| 4 | GWC70.76 – 04 – 001 | baffle | 1 | \ |
| 5 | GWS70.76 – 04 – 284 | Output gear | 1 | \ |
| 6 | GWS70.76 – 04 – 009 | Bearing | 1 | Selected for right – turning main engine |
| 6 | GWS70.76 – 04 – 007 | Bearing | 1 | Selected for left – turning main engine |
| 7 | GB/T119.1 – 2000 | Pin 20×45 | 23 | \ |
| 8 | GB/T3452.1 – 2005 | O – ring 355×7 | 1 | \ |
| 9 | GWS70.76 – 04 – 010 | Bearing | 1 | Selected for right – turning main engine |
| 9 | GWS70.76 – 04 – 008 | Bearing | 1 | Selected for left – turning main engine |
| ——END—— | ||||

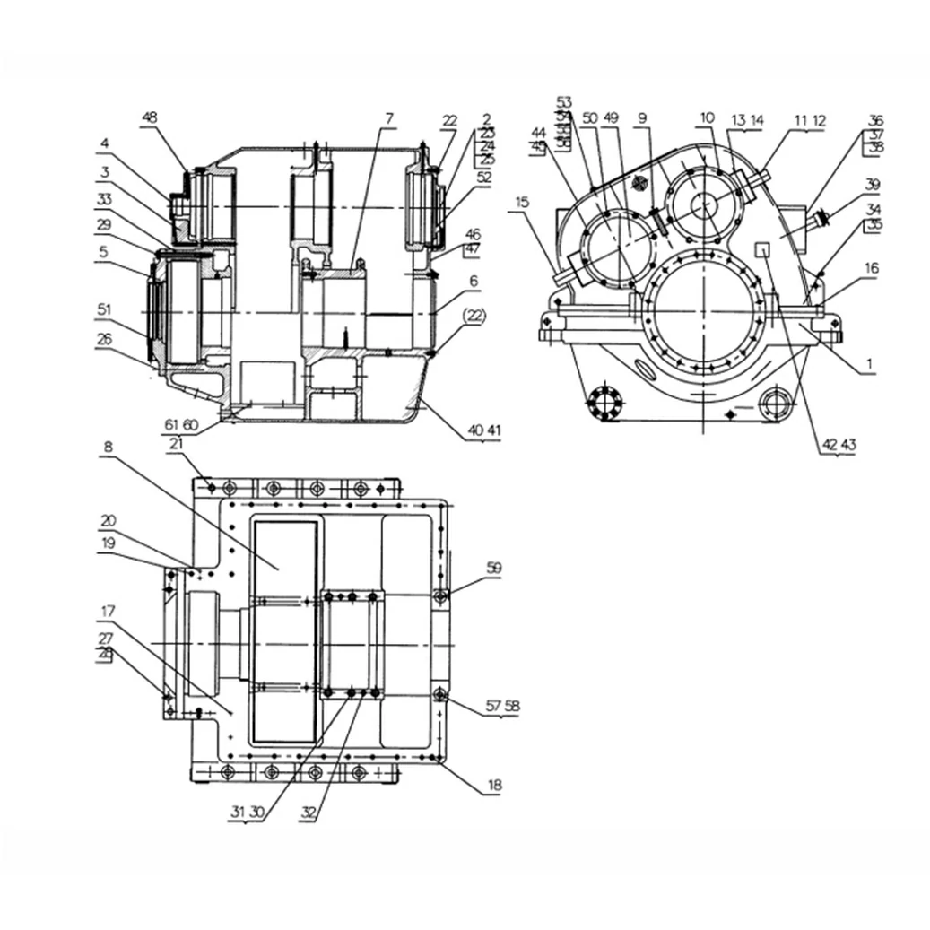
No. | Parts No. | Description | Qty. | Remarks |
| 1 | GWS70.76 – 05 – 101 | Assembly (Upper, Middle, Lower Housing) | 1 | \ |
| 2 | GWS70.76 – 05 – 001 | Input shaft gland | 1 | \ |
| 3 | GWS70.76 – 05 – 003 | Split cover | 1 | \ |
| 4 | GWS70.76 – 05 – 004 | End cover | 1 | \ |
| 5 | GWS70.76 – 05 – 007 | Output split sealing gland | 1 | \ |
| 6 | GWS70.76 – 05 – 110 | End cover | 1 | \ |
| 7 | GWS70.76 – 05 – 006 | Cover | 1 | \ |
| 8 | GWS70.76 – 48 | Oil tray element | 1 | \ |
| 9 | GB/T5782 – 2000 | Hexagon head bolt M42×185 | 1 | \ |
| 10 | GB/T5782 – 2000 | Hexagon head bolt M20×50 | 8 | \ |
| 11 | GB/T5782 – 2000 | Hexagon head bolt M27×110 | 16 | \ |
| 12 | GB/T6170 – 2000 | Nut M27 | 16 | \ |
| 13 | GB/T5782 – 2000 | Hexagon head bolt M42×280 | 5 | \ |
| 14 | GB/T6170 – 2000 | Nut M42 | 5 | \ |
| 15 | GB/T117 – 2000 | Pin 30×80 | 2 | \ |
| 16 | GB/T5782 – 2000 | Hexagon head bolt M27×80 | 28 | \ |
| 17 | GB/T5782 – 2000 | Hexagon head bolt M36×185 | 2 | \ |
| 18 | GB/T118 – 2000 | Pin 30×80 (Internal Thread Taper Pin) | 2 | \ |
| 19 | GB/T5782 – 2000 | Hexagon head bolt M27×170 | 4 | \ |
| 20 | GB/T118 – 2000 | Pin 25×180 (Internal Thread Taper Pin) | 4 | \ |
| 21 | GB/T79 – 2000 | Screw M48×150 | 4 | \ |
| 22 | GB/T5782 – 2000 | Hexagon head bolt M20×50 | 24 | \ |
| 23 | GB/T5782 – 2000 | Hexagon head bolt M12×50 | 4 | \ |
| 24 | GB/T6170 – 2000 | Nut M12 | 4 | \ |
| 25 | GB/T879.1 – 86 | Pin 12×40 (Elastic Cylindrical Pin) | 2 | \ |
| 26 | GB/T5782 – 2000 | Hexagon head bolt M30×95 | 8 | \ |
| 27 | GB/T27 – 88 | Hexagon head bolt M24×85 (Reamed Hole Bolt) | 4 | \ |
| 28 | GB/T5782 – 2000 | Nut M24 | 4 | \ |
| 29 | GB/T5782 – 2000 | Hexagon head bolt M30×345 | 8 | \ |
| 30 | GB32.1 – 88 | Hexagon head bolt M36×175 (Bolt with Hole in Head) | 6 | \ |
| 31 | YB343 – 1994 | Wire φ5 (Safety Wire) | 2 | \ |
| 32 | GB/T118 – 2000 | Pin 30×180 (Internal Thread Taper Pin) | 2 | \ |
| 33 | GWC70.76 – 05 – 004 | Bearing end cover | 1 | \ |
| 34 | GWS70.76 – 53 | Oil dipstick group | 1 | \ |
| 35 | GWC70.76 – 54 | Protective pipe group | 1 | \ |
| 36 | 3/0454/0021/0 | Inspection cover | 2 | \ |
| 37 | GB8162 – 99 | Steel tube 60×3.5×120 | 1 | \ |
| 38 | GB/T5782 – 2000 | Hexagon head bolt M12×30 | 20 | \ |
| 39 | GW – 78 – 000 | Oil filler group | 1 | \ |
| 40 | JB1000 – 77 | Plug screw M42×2 | 2 | \ |
| 41 | Q20 – 03A | Seal (Copper Washer 42) | 2 | \ |
| 42 | HCNO11 – 83 | “HC” sign | 1 | \ |
| 43 | GB827 – 86 | Rivet 3×10 | 4 | \ |
| 44 | HCNO09 – 88 | Nameplate | 1 | \ |
| 45 | GB827 – 86 | Rivet 3×10 | 2 | \ |
| 46 | Q25 – 06 | Turning plate | 1 | \ |
| 47 | GB827 – 86 | Rivet 3×10 | 2 | \ |
| 48 | JB1000 – 77 | Plug screw M14×1.5 | 1 | \ |
| 49 | GWS70.76 – 06 – 000 | Pump trans assembly | 1 | \ |
| 50 | GB/T5782 – 2000 | Hexagon head bolt M20×50 | 8 | \ |
| 51 | 15×15×1205 | Packing | 2 | \ |
| 52 | 15×15×780 | Packing | 2 | \ |
| 53 | Q29 – 04 | Circlip | 1 | \ |
| 54 | Q29 – 05 | Exhauster spacer | 1 | \ |
| 55 | Q29 – 06 | Exhauster | 1 | \ |
| 56 | Q29 – 03A | Seal (Copper Washer) | 1 | \ |
| 57 | GB/T5782 – 2000 | Hexagon head bolt M36×280 | 1 | \ |
| 58 | GB/T6170 – 2000 | Nut M36 | 1 | \ |
| 59 | GB/T5782 – 2000 | Hexagon head bolt M360×260 | 1 | \ |
| 60 | GB/T5783 – 2000 | Hexagon head bolt M10×20 | 4 | \ |
| 61 | GB93 – 87 | Seal (Washer 10) | 4 | \ |
| ——END—— | ||||

No. | Parts No. | Description | Qty. | Remarks |
| 110 | GWS70.76 – 06 – 110 | Oil pump cover | 1 | \ |
| 111 | GB/T5783 – 2000 | Bolt M20×50 | 8 | \ |
| 112 | GB/T117 – 2000 | Pin 10×30 | 2 | \ |
| 113 | JB1000 – 77 | Plug screw M14×1.5 | 1 | \ |
| 114 | GB/6170 – 2000 | Nut M18 | 4 | \ |
| 115 | GB/T5783 – 2000 | Bolt M12×45 | 10 | \ |
| 116 | GB/T5782 – 2000 | Bolt M12×245 | 2 | \ |
| 117 | GB/6170 – 2000 | Nut M12 | 10 | \ |
| 118 | JB1000 – 77 | Plug screw M33×2 | 1 | \ |
| 119 | Q20 – 03A | Seal (Copper Washer 33) | 1 | \ |
| 120 | GB894.1 – 86 | Spacer 36 | 1 | \ |
| 123 | GWS70.76 – 06 – 123 | Oil pumptrans shaft | 1 | \ |
| 124 | GB894.1 – 86 | Spacer 40 | 1 | \ |
| 125 | GB/T276 – 94 | Bearing 6218 | 4 | \ |
| 126 | GWC70.76 – 06 – 126 | Sleeve | 1 | \ |
| 127 | GWC70.76 – 06 – 127 | Nilos ring | 1 | \ |
| 128 | GWC70.76 – 06 – 128 | Cover | 1 | \ |
| 129 | GB898 – 88 | Stud M18×40 | 4 | \ |
| 130 | GB/T5783 – 2000 | Bolt M10×30 | 4 | \ |
| 132 | Q21 – 13 | Plug Φ10 | 1 | \ |
| 133 | GB93 – 87 | Seal (Washer 20) | 8 | \ |
| 134 | GB93 – 87 | Seal (Washer 12) | 10 | \ |
| 135 | GB93 – 87 | Seal (Washer 10) | 4 | \ |
| 136 | GWC70.76 – 06 – 136 | Spline sleeve | 1 | \ |
| 137 | GWC70.76 – 06 – 137 | Spacer | 1 | \ |
| 300 | GWC70.76 – 06 – 300 | Oil pump trans gear | 1 | \ |
| 301 | GWC70.76 – 06 – 301 | Oil pump driving gear | 1 | \ |
| ——END—— | ||||

Note: All Above Data are Just for Reference, All Data Might Change Without Notices or Updates, Please Contact Our Sales Team to Confirm All Details Via WhatsApp or Email.

Engine Sale Manual

Installation Drawing

Installation Manual

Operation Manual

Parts Catalogue


